sales@primechampion.com
PC Adjustable Aluminum Stilts
PC Foldable Aluminum Work Benches
PC Aluminum Work Bench - Step Up
Manual
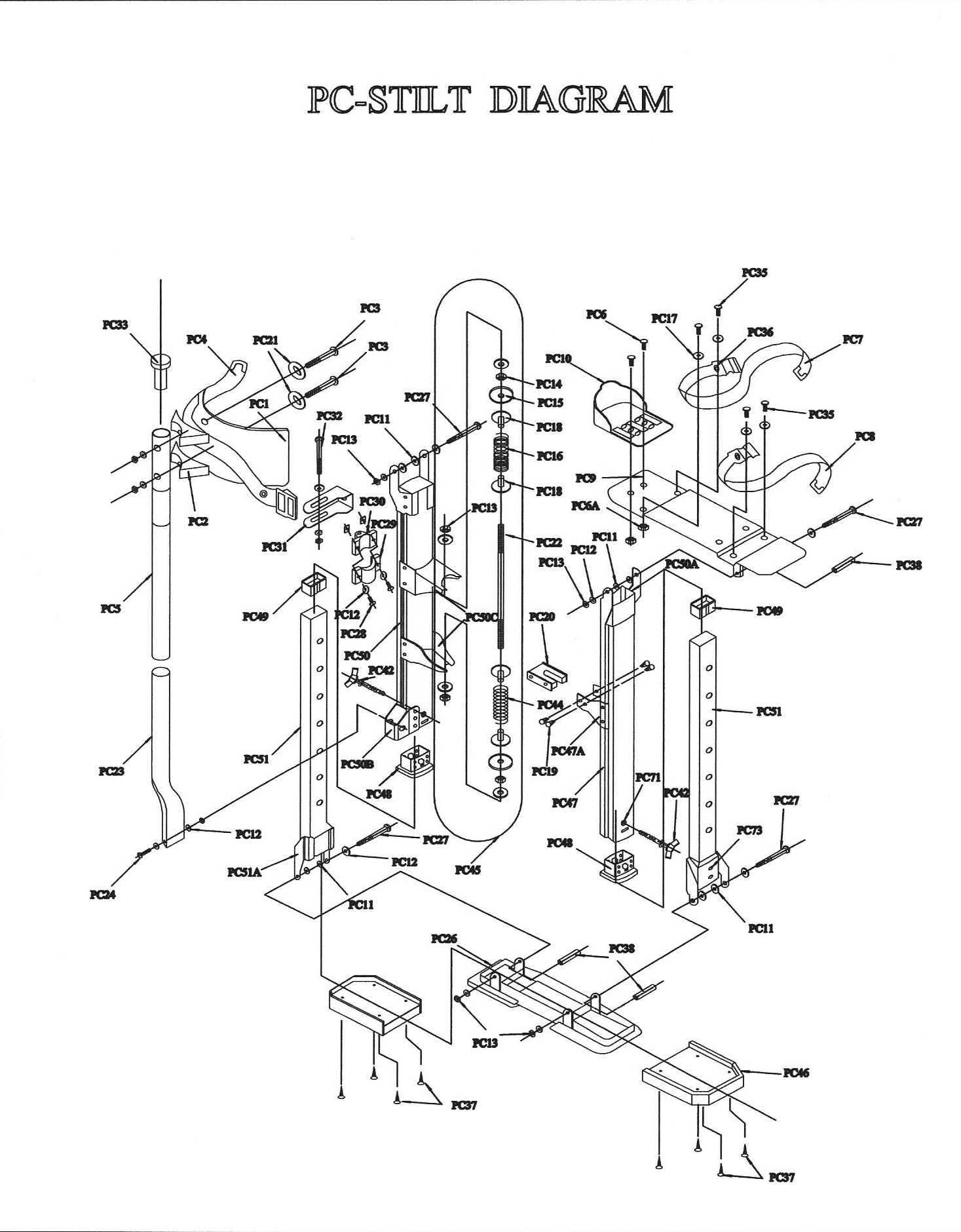
Diagram